Stamped Retaining Rings > External Retaining Rings
Bowed External Retaining Rings
External Retaining Rings: Bowed External Retaining Rings
Arcon Ring’s Bowed External Retaining Rings are designed to act as a spring once installed, helping to compensate for accumulated manufacturing tolerances. By maintaining constant compression, bowed rings reduce shaft “play” and ensure a more secure fit. Ideal for applications where dimensional variation is a factor, these rings provide reliable performance and lasting tension.
Explore our full range of bowed external ring dimensions and configuration drawings below. Need a custom fit? Design your own bowed ring directly on our site.

Download Our Product Catalog
Connect with a Retaining Ring Expert
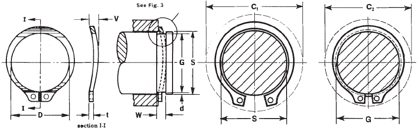
Specifications
Custom Sizes Obtainable: 0.050″ to 60″

| Part Number | Shaft Diameter | Ring Dimensions | Groove Dimensions | |||||||||||||
|---|---|---|---|---|---|---|---|---|---|---|---|---|---|---|---|---|
| Free Dia. | Thickness | Diameter | Width | |||||||||||||
| Dec. equiv. Inch | Approx. Fract. Equiv. Inch | Approx. mm | D | tol. | t | tol. | lbs. | G | tol. | W | tol. | d | C1 | C2 | Thrust Load | |
| 1401-18 | 0.188 | 3/16 | 4.8 | 0.168 | +.002 -.004 |
0.015 | ±.002 | 0.06 | 0.175 | ±.0015 .0015 |
0.030 | +.002 -.000 |
>0.006 | 0.298 | 0.286 | 240 |
| 1401-19 | 0.197 | – | 5 | 0.179 | 0.015 | 0.06 | 0.185 | 0.030 | 0.006 | 0.319 | 0.307 | 250 | ||||
| 1401-21 | 0.219 | 7/32 | 5.6 | 0.196 | 0.015 | 0.07 | 0.205 | 0.030 | 0.007 | 0.338 | 0.324 | 280 | ||||
| 1401-23 | 0.236 | 15/64 | 6 | 0.215 | 0.015 | 0.09 | 0.222 | 0.030 | 0.007 | 0.355 | 0.341 | 310 | ||||
| 1401-25 | 0.250 | 1/4 | 6.4 | 0.225 | 0.025 | 0.21 | 0.230 | 0.040 | +.003 -.000 |
0.010 | 0.450 | 0.430 | 590 | |||
| 1401-27 | 0.276 | – | 7 | 0.250 | +.002 -.005 |
0.025 | 0.23 | 0.255 | ±.002 .002 |
0.040 | 0.010 | 0.480 | 0.460 | 650 | ||
| 1401-28 | 0.281 | 9/32 | 7.1 | 0.256 | 0.025 | 0.24 | 0.261 | 0.040 | 0.010 | 0.490 | 0.470 | 660 | ||||
| 1401-31 | 0.312 | 5/16 | 7.9 | 0.281 | 0.025 | 0.27 | 0.290 | 0.040 | 0.011 | 0.540 | 0.520 | 740 | ||||
| 1401-34 | 0.440 | 11/32 | 8.7 | 0.309 | 0.025 | 0.31 | 0.321 | 0.040 | 0.011 | 0.570 | 0.550 | 800 | ||||
| 1401-35 | 0.354 | – | 9 | 0.320 | 0.025 | 0.35 | 0.330 | 0.040 | 0.012 | 0.590 | 0.570 | 820 | ||||
| 1401-37 | 0.375 | 3/8 | 9.5 | 0.338 | 0.025 | 0.39 | 0.352 | 0.040 | 0.012 | 0.610 | 0.590 | 870 | ||||
| 1401-39 | 0.394 | – | 10 | 0.354 | 0.025 | 0.42 | 0.369 | 0.040 | 0.012 | 0.620 | 0.600 | 940 | ||||
| 1401-40 | 0.406 | 13/32 | 10.3 | 0.366 | 0.025 | 0.43 | 0.382 | 0.040 | 0.012 | 0.630 | 0.610 | 950 | ||||
| 1401-43 | 0.438 | 7/16 | 11.1 | 0.395 | 0.025 | 0.50 | 0.412 | 0.040 | 0.013 | 0.660 | 0.640 | 1020 | ||||
| 1401-46 | 0.469 | 15/32 | 11.9 | 0.428 | 0.025 | 0.54 | 0.443 | 0.040 | 0.013 | 0.680 | 0.660 | 1100 | ||||
| 1401-50 | 0.500 | 1/2 | 12.7 | 0.461 | 0.035 | 0.91 | 0.468 | ±.002 .004 |
0.055 | 0.016 | 0.770 | 0.740 | 1650 | |||
| 1401-55 | 0.551 | – | 14 | 0.509 | +.005 -.010 |
0.035 | 0.90 | 0.519 | 0.055 | 0.016 | 0.810 | 0.780 | 1800 | |||
| 1401-56 | 0.562 | 9/16 | 14.3 | 0.521 | 0.035 | 1.10 | 0.530 | 0.055 | 0.016 | 0.820 | 0.790 | 1850 | ||||
| 1401-59 | 0.594 | 19/32 | 15.1 | 0.550 | 0.035 | 1.20 | 0.559 | ±.003.004 | 0.055 | 0.017 | 0.860 | 0.830 | 1950 | |||
| 1401-62 | 0.625 | 5/8 | 15.9 | 0.579 | 0.035 | 1.30 | 0.588 | 0.055 | 0.018 | 0.900 | 0.870 | 2060 | ||||
| 1401-66 | 0.669 | – | 17 | 0.621 | 0.035 | 1.40 | 0.629 | 0.055 | 0.020 | 0.930 | 0.890 | 2200 | ||||
| 1401-66 | 0.672 | 43/64 | 17.1 | 0.621 | 0.035 | 1.40 | 0.631 | 0.055 | 0.020 | 0.930 | 0.890 | 2200 | ||||
| 1401-68 | 0.688 | 11/16 | 17.5 | 0.635 | 0.042 | 1.80 | 0.646 | 0.062 | 0.021 | 1.010 | 0.970 | 3400 | ||||
| 1401-75 | 0.750 | 3/4 | 19 | 0.693 | 0.042 | 2.10 | 0.704 | 0.062 | 0.023 | 1.090 | 1.050 | 3700 | ||||
| 1401-78 | 0.781 | 25/32 | 19.8 | 0.722 | 0.042 | 2.20 | 0.733 | 0.062 | 0.024 | 1.120 | 1.080 | 3900 | ||||
| 1401-81 | 0.812 | 13/16 | 20.6 | 0.751 | 0.042 | 2.50 | 0.762 | 0.062 | 0.025 | 1.150 | 1.100 | 4000 | ||||
| 1401-87 | 0.875 | 7/8 | 22.2 | 0.810 | 0.042 | 2.80 | 0.821 | 0.062 | 0.027 | 1.210 | 1.160 | 4300 | ||||
| 1401-93 | 0.938 | 15/16 | 23.8 | 0.867 | 0.042 | 3.10 | 0.882 | 0.062 | 0.028 | 1.340 | 1.290 | 4650 | ||||
| 1401-98 | 0.984 | 63/64 | 25 | 0.910 | 0.042 | 3.50 | 0.926 | 0.062 | 0.029 | 1.390 | 1.340 | 4850 | ||||
| 1401-100 | 1.000 | 1 | 25.4 | 0.925 | 0.042 | 3.60 | 0.940 | 0.062 | 0.030 | 1.410 | 1.350 | 4950 | ||||
| 1401-102 | 1.023 | – | 26 | 0.946 | 0.042 | 3.90 | 0.961 | 0.062 | 0.031 | 1.430 | 1.370 | 5050 | ||||
| 1401-106 | 1.062 | 1 1/16 | 27 | 0.982 | +.010 -.015 |
0.050 | 4.80 | 0.998 | ±.004 .005 |
0.070 | 0.032 | 1.500 | 1.440 | 6200 | ||
| 1401-112 | 1.125 | 1 1/8 | 28.6 | 1.041 | 0.050 | 5.10 | 1.059 | 0.070 | 0.033 | 1.550 | 1.490 | 6600 | ||||
| 1401-118 | 1.188 | 1 3/16 | 30.2 | 1.098 | 0.050 | 5.60 | 1.118 | 0.070 | 0.035 | 1.610 | 1.540 | 7000 | ||||
| 1401-125 | 1.250 | 1 1/4 | 31.7 | 1.156 | 0.050 | 5.90 | 1.176 | 0.070 | 0.037 | 1.690 | 1.620 | 7350 | ||||
| 1401-131 | 1.312 | 1 5/16 | 33.3 | 1.214 | 0.050 | 6.80 | 1.232 | 0.070 | 0.040 | 1.750 | 1.670 | 7750 | ||||
| 1401-137 | 1.375 | 1 3/8 | 34.9 | 1.272 | 0.050 | 7.20 | 1.291 | 0.070 | 0.042 | 1.800 | 1.720 | 8100 | ||||
| 1401-143 | 1.438 | 1 7/16 | 36.5 | 1.333 | 0.050 | 8.10 | 1.350 | 0.070 | 0.044 | 1.870 | 1.790 | 8500 | ||||
| 1401-150 | 1.500 | 1 1/2 | 38.1 | 1.387 | 0.050 | 9.00 | 1.406 | 0.070 | 0.047 | 1.990 | 1.900 | 8800 | ||||
| 1401-162 | 1.625 | 1 5/8 | 41.3 | 1.503 | +.013 -.020 |
0.062 | ±.003 | 13.20 | 1.529 | ±.005.005 | 0.096 | +.005 -.000 |
0.048 | 2.170 | 2.080 | 11850 |
| 1401-175 | 1.750 | 1 3/4 | 44.4 | 1.618 | 0.062 | 15.30 | 1.650 | 0.096 | 0.050 | 2.310 | 2.210 | 12800 | ||||
