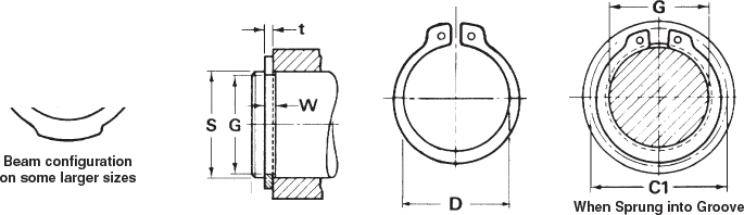
Stamped Retaining Rings > External Retaining Rings
Heavy Duty External Retaining Rings
External Retaining Rings: Heavy Duty
Arcon Ring’s Heavy Duty External Retaining Rings are built to withstand greater force than our standard rings, making them ideal for high-stress applications. With a wider size range and enhanced durability, these rings ensure reliable axial retention in the most demanding environments.
Explore our full list of heavy-duty ring dimensions and configuration drawings below.
We also offer a full range of external retaining rings, including Standard, Bowed, Heavy Duty Push-On, Push-On External, and Grip.

Download Our Product Catalog
Connect with a Retaining Ring Expert
Specifications
Catalog Stock Sizes Available: 0.394″ to 2.00″
Custom Sizes Obtainable: 0.050″ to 60″
Standard Material: Carbon Spring Steel
Standard Finish: Phosphate & Oil

| Part Number | Shaft | Ring | C | Approx Wt. lb/1000 pcs. | TC+ (lb.f) | ||||||
|---|---|---|---|---|---|---|---|---|---|---|---|
| Diameter S | Free Diameter | Free Thickness | |||||||||
| min. (inch) | max (inch) | fraction ~ | mm | D inches | Tol. inches | t inches | Tol. inches | ||||
| 1440-7 | .077 | .081 | 5/64 | 2.0 | .074 | +.002 -.003 |
0.024 | ±.002 | .25 | .08 | 11 |
| 1440-9 | .092 | .096 | 3/32 | 2.4 | .089 | .025 | .26 | .10 | 11 | ||
| 1440-11 | .116 | .120 | – | 3.0 | .112 | .024 | .29 | .14 | 16 | ||
| 1440-12 | .123 | .127 | 1/8 | 3.2 | .120 | .025 | .33 | .24 | 20 | ||
| 1440-13 | .134 | .138 | – | 3.5 | .130 | .025 | .31 | .27 | 20 | ||
| 1440-15 | .154 | .158 | 5/32 | 4.0 | .150 | +.002 -.004 |
.025 | .36 | .30 | 23 | |
| 1440-18 | .185 | .189 | 3/16 | 4.8 | .181 | .035 | ±.003 | .44 | .55 | 25 | |
| 1440-19 | .194 | .200 | – | 5.0 | .187 | ±.003 | .032 | .44 | .45 | 30 | |
| 1440-23 | .234 | .239 | 15/64 | 6.0 | .224 | .039 | .50 | .85 | 35 | ||
| 1440-25 | .247 | .253 | 1/4 | 6.3 | .238 | +.002 -.004 |
.035 | .50 | .74 | 35 | |
| 1440-27 | .274 | .278 | – | 7.0 | .264 | ±.004 | .039 | .54 | .93 | 40 | |
| 1440-31 | .310 | .317 | 5/16 | 8.0 | .298 | +.003 -.005 |
.042 | ±.003 | .67 | .67 | 44 |
| 1440-35 | .351 | .357 | – | 9.0 | .341 | ±.004 | .047 | .74 | .74 | 50 | |
| 1440-37 | .372 | .379 | 3/8 | 9.5 | .354 | +.003 -.005 |
.042 | .73 | .73 | 60 | |
| 1440-39 | .391 | .397 | – | 10.0 | .380 | ±.004 | .047 | .76 | .76 | 60 | |
| 1440-43 | .434 | .440 | 7/16 | 11.0 | .412 | +.003 -.005 |
.050 | .80 | .80 | 61 | |
| 1440-50 | .496 | .505 | 1/2 | 12.7 | .470 | +.004 -.006 |
.050 | .90 | .90 | 65 | |
| 1440-55 | .550 | .556 | – | 14.0 | .531 | .059 | .99 | .99 | 76 | ||
| 1440-59 | .587 | .593 | 19/32 | 15.0 | .571 | .059 | 1.06 | 1.06 | 81 | ||
| 1440-62 | .620 | .631 | 5/8 | 16.0 | .593 | .062 | ±.004 | 1.06 | 1.06 | 85 | |
| 1440-75 | .745 | .755 | 3/4 | 19.0 | .706 | .062 | 1.30 | 1.30 | 91 | ||
| Part Number | Shaft | Ring | Groove | Approx Wt. LB/1000 pcs. |
Thrust Load (lbs) | |||||||||
|---|---|---|---|---|---|---|---|---|---|---|---|---|---|---|
| Diameter S | Thickness | Free Diameter | Diameter | Width | ||||||||||
| Frac. inch | Dec. inch | mm | t inches | Tol. inches | D inches | Tol. inches | C1 | G inches | Tol. inches | W inches | Tol. inches | |||
| 1460-39 | – | .394 | 10.0 | .035 | ±.002 | .362 | +.003 -.008 |
.58 | .368 | +.001 -.002 |
.039 | +.003 -.000 |
.70 | 2000 |
| 1460-42 | – | .428 | 10.9 | .035 | .394 | .62 | .402 | .039 | .86 | 2300 | ||||
| 1460-47 | – | .473 | 12.0 | .042 | .435 | +.005 -.010 |
.66 | .444 | .046 | 1.4 | 3000 | |||
| 1460-50 | 1/2 | .500 | 12.7 | .050 | .460 | .72 | .468 | .056 | +.004 -.000 |
1.6 | 3900 | |||
| 1460-59 | – | .591 | 15.0 | .050 | .543 | .83 | .555 | +.001 -.003 |
.056 | 2.2 | 4500 | |||
| 1460-62 | 5/8 | .625 | 15.9 | .050 | .575 | .86 | .588 | .056 | 2.3 | 4800 | ||||
| 1460-66 | – | .669 | 17.0 | .050 | .616 | .90 | .629 | .056 | 2.6 | 5200 | ||||
| 1460-75 | 3/4 | .750 | 19.0 | .078 | ±.003 | .689 | 1.08 | .704 | .086 | +.005-.000 | 5.6 | 9000 | ||
| 1460-75 | – | .787 | 20.0 | .078 | .689 | 1.12 | .740 | .086 | 5.6 | 9000 | ||||
| 1460-87 | 7/8 | .875 | 22.2 | .078 | .804 | 1.20 | .821 | .086 | 7.5 | 10400 | ||||
| 1460-98 | 63/64 | .984 | 25.0 | .078 | .906 | 1.30 | .925 | .086 | 7.8 | 11500 | ||||
| 1460-98 | 1 | 1.000 | 25.4 | .078 | .906 | 1.31 | .938 | .086 | 7.8 | 11500 | ||||
| 1460-106 | 1 1/16 | 1.062 | 27.0 | .093 | .978 | +.010 -.015 |
1.46 | .998 | +.002 -.004 |
.103 | 11.5 | 15000 | ||
| 1460-112 | 1 1/8 | 1.125 | 28.6 | .093 | 1.036 | 1.52 | 1.059 | .103 | 12.5 | 16000 | ||||
| 1460-118 | – | 1.181 | 30.0 | .093 | 1.087 | 1.57 | 1.111 | .103 | 13.5 | 16500 | ||||
| 1460-118 | 1 3/16 | 1.188 | 30.2 | .093 | 1.087 | 1.57 | 1.111 | .103 | 13.5 | 16500 | ||||
| 1460-125 | 1 1/4 | 1.250 | 31.7 | .093 | 1.150 | 1.63 | 1.174 | .103 | 14.9 | 17500 | ||||
| 1460-131 | 1 5/16 | 1.312 | 33.3 | .093 | 1.208 | 1.69 | 1.234 | .103 | 16.0 | 18000 | ||||
| 1460-137 | 1 3/8 | 1.375 | 34.9 | .093 | 1.268 | 1.75 | 1.291 | .103 | 17.8 | 19500 | ||||
| 1460-137 | – | 1.378 | 35.0 | .093 | 1.268 | 1.75 | 1.291 | .103 | 17.8 | 19500 | ||||
| 1460-150 | 1 1/2 | 1.500 | 38.1 | .109 | 1.380 | 1.98 | 1.406 | .120 | 27.0 | 24500 | ||||
| 1460-156 | 1 9/16 | 1.562 | 39.7 | .109 | 1.437 | +.013 .020 |
2.05 | 1.468 | +.003 -.004 |
.120 | 31.0 | 26000 | ||
| 1460-156 | – | 1.575 | 40.0 | .109 | 1.43 | 2.06 | 1.480 | .120 | 31.0 | 26000 | ||||
| 1460-175 | 1 3/4 | 1.750 | 44.4 | .109 | 1.608 | 2.25 | 1.650 | .120 | 33.4 | 29000 | ||||
| 1460-175 | – | 1.772 | 45.0 | .109 | 1.608 | 2.27 | 1.669 | .120 | 33.4 | 29000 | ||||
| 1460-193 | 1 15/16 | 1.938 | 49.2 | .125 | ±.004 | 1.782 | 2.48 | 1.826 | .139 | +.006 -.000 |
48.6 | 37000 | ||
| 1460-193 | 1 31/32 | 1.969 | 50.0 | .125 | 1.782 | 2.50 | 1.850 | .139 | 48.6 | 37000 | ||||
| 1460-200 | 2 | 2.000 | 50.8 | .125 | 1.840 | 2.53 | 1.880 | .139 | 50.6 | 38000 | ||||
