Eaton Snap Rings > Internal Eaton Style Rings
Internal Retaining Ring (NAN)
Internal Eaton Style Rings: Internal Retaining Ring (NAN)
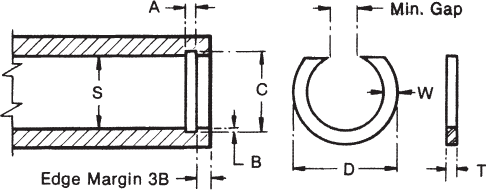
See our Internal Retaining Ring Chart below, which includes technical specifications such as:
- Internal Retaining Ring Dimensions
- Internal Retaining Ring Groove Dimensions
- Internal Retaining Ring Thrust Load
- Plus More
You’ll also notice CAD drawings below to further assist you.
For more information, view all Eaton Rings, or feel free to download our internal retaining ring PDF or view our complete retaining ring catalog. If you do not see your desired specifications in our size chart below, you can custom-design your own bearing snap ring right on our website!

Request Your Custom Quote Today
Connect with a Retaining Ring Expert
Specifications
Catalog Stock Sizes Available: 0.375″ to 2.688″ & 2.717″ to 10.000″
Custom Sizes Obtainable: 0.050″ to 60″
Standard Material: Carbon Spring Steel

| Rt Number | Housing | Ring | Groove | Free Gap | Ring Thrust Capacity LBS. |
|||||||||
|---|---|---|---|---|---|---|---|---|---|---|---|---|---|---|
| Diameter S | Free Diameter | Wire Section | Dia. | Width A |
Nom. Depth B | Min. | Max. | |||||||
| Frac. inch | Dec. inch | mm | D inches |
Tol. inches | W ±.005 |
T ±.002 |
C | Tol. | ||||||
| NAN37 | 3/8 | 0.375 | 9.53 | 0.400 | +0.020 | 0.035 | 0.025 | 0.395 | 0.028 | 0.010 | 0.125 | 0.218 | 250 | |
| NAN43 | 7/16 | 0.438 | 11.12 | 0.467 | -0.000 | ±.003 | 0.462 | +.003 -.000 |
300 | |||||
| NAN50 | 1/2 | 0.500 | 12.70 | 0.530 | 0.040 | 0.524 | 0.012 | 470 | ||||||
| NAN51 | – | 0.512 | 13.00 | 0.542 | ±.003 | 0.536 | 480 | |||||||
| NAN56 | 9/16 | 0.562 | 14.27 | 0.600 | 0.035 | 0.590 | 0.039 | 0.014 | 510 | |||||
| NAN62 | 5/8 | 0.625 | 15.88 | 0.670 | +0.025 | 0.048 | 0.657 | +0.003 | 0.016 | 0.187 | 0.344 | 620 | ||
| NAN68 | 11/16 | 0.688 | 17.48 | 0.733 | -0.000 | ±.003 | 0.720 | ±.003 | -0.000 | 700 | ||||
| NAN75 | 3/4 | 0.750 | 19.05 | 0.799 | 0.786 | 0.018 | 750 | |||||||
| NAN77 | – | 0.777 | 19.74 | 0.827 | 0.062 | 0.813 | 1,020 | |||||||
| NAN81 | 13/16 | 0.812 | 20.62 | 0.867 | ±.003 | 0.852 | 0.020 | 1,090 | ||||||
| NAN87 | 7/8 | 0.875 | 22.23 | 0.934 | 0.919 | 0.046 | 0.022 | 1,130 | ||||||
| NAN90 | – | 0.901 | 22.88 | 0.961 | 0.078 | 0.042 | 0.945 | +0.003 | 1,260 | |||||
| NAN93 | 15/16 | 0.938 | 23.82 | 1.003 | ±.003 | 0.986 | -0.000 | 0.024 | 0.281 | 0.438 | 1,360 | |||
| NAN100 | 1 | 1.000 | 25.40 | 1.070 | 1.052 | 1,470 | ||||||||
| NAN102 | – | 1.023 | 25.98 | 1.094 | 1.075 | 0.026 | 1,500 | |||||||
| NAN106 | 11/16 | 1.062 | 26.97 | 1.134 | 0.093 | 1.114 | 1,780 | |||||||
| NAN112 | 11/8 | 1.125 | 28.58 | 1.202 | +0.031 | ±.003 | 1.181 | 0.028 | 1,880 | |||||
| NAN118 | 13/16 | 1.188 | 30.17 | 1.270 | -0.000 | 1.248 | 0.030 | 1,990 | ||||||
| NAN125 | 11/4 | 1.250 | 31.75 | 1.337 | 0.109 | 1.314 | 0.056 | 0.032 | 2,090 | |||||
| NAN131 | 15/16 | 1.312 | 33.32 | 1.404 | ±.003 | 0.050 | 1.380 | +0.003 | 0.034 | 0.375 | 0.562 | 2,200 | ||
| NAN137 | 13/8 | 1.375 | 34.93 | 1.472 | 1.447 | -0.000 | 0.036 | 2,300 | ||||||
| NAN143 | 17/16 | 1.438 | 36.52 | 1.535 | 1.510 | 2,460 | ||||||||
| NAN145 | – | 1.456 | 36.08 | 1.557 | 0.125 | 1.532 | 0.038 | 2,490 | ||||||
| NAN150 | 11/2 | 1.500 | 38.10 | 1.607 | ±.005 | 1.576 | ±.005 | 2,560 | ||||||
| NAN156 | 19/16 | 1.562 | 39.67 | 1.668 | 1.642 | 0.040 | 3,060 | |||||||
| NAN162 | 15/8 | 1.625 | 41.28 | 1.736 | 0.141 | 1.709 | 0.042 | 3,190 | ||||||
| NAN165 | – | 1.653 | 41.99 | 1.765 | ±.005 | 1.737 | 3,240 | |||||||
| NAN168 | 111/16 | 1.688 | 42.87 | 1.804 | 1.776 | 0.044 | 0.437 | 0.687 | 3,370 | |||||
| NAN175 | 13/4 | 1.750 | 44.45 | 1.870 | 1.842 | 0.068 | 0.046 | 3,510 | ||||||
| NAN181 | 113/16 | 1.812 | 46.02 | 1.933 | 0.062 | 1.904 | +0.004 | 3,640 | ||||||
| NAN185 | – | 1.850 | 47.00 | 1.975 | 1.946 | -0.000 | 0.048 | 3,710 | ||||||
| NAN187 | 17/8 | 1.875 | 47.63 | 2.000 | 0.156 | 1.971 | 3,760 | |||||||
| NAN193 | 115/16 | 1.938 | 49.22 | 2.068 | ±.005 | 2.038 | 3,870 | |||||||
| NAN196 | 131/32 | 1.968 | 49.99 | 2.098 | 2.068 | 0.050 | 3,935 | |||||||
| NAN200 | 2 | 2.000 | 50.80 | 2.131 | 0.046 | 2.100 | 4,000 | |||||||
| NAN206 | 21/16 | 2.062 | 52.37 | 2.197 | 0.000 | 2.166 | 0.052 | 4,380 | ||||||
| NAN212 | 21/8 | 2.125 | 53.98 | 2.260 | 2.229 | 5,140 | ||||||||
| NAN218 | 23/16 | 2.188 | 55.55 | 2.331 | 2.296 | 0.054 | 0.500 | 0.750 | 5,470 | |||||
| NAN225 | 21/4 | 2.250 | 57.15 | 2.393 | 0.171 | 2.358 | 0.086 | 5,630 | ||||||
| NAN231 | 25/16 | 2.312 | 58.72 | 2.459 | ±.005 | 0.078 | 2.424 | +0.005 | 0.056 | 5,790 | ||||
| NAN237 | 23/8 | 2.375 | 60.33 | 2.523 | 2.487 | ±.006 | -0.000 | 5,950 | ||||||
| NAN244 | – | 2.440 | 61.98 | 2.592 | 2.556 | 0.058 | 6,270 | |||||||
| NAN250 | 21/2 | 2.500 | 63.50 | 2.653 | 2.616 | 6,350 | ||||||||
| NAN253 | 217/32 | 2.531 | 64.28 | 2.688 | 0.187 | 2.651 | 0.060 | 6,510 | ||||||
| NAN256 | 29/16 | 2.562 | 65.07 | 2.726 | ±.005 | 2.686 | 0.103 | 8,400 | ||||||
| NAN262 | 25/8 | 2.625 | 66.67 | 2.790 | 0.093 | 2.750 | +0.005 | 0.062 | 0.562 | 0.812 | 8,650 | |||
| NAN268 | 211/16 | 2.688 | 68.27 | 2.856 | 2.816 | -0.000 | 8,800 | |||||||
| NAN271 | – | 2.717 | 68.83 | 2.882 | +.046 -.000 |
2.842 | 0.064 | 0.562 | 0.812 | 8,875 | ||||
| NAN275 | 23/4 | 2.750 | 69.85 | 2.918 | 2.878 | 0.103 | 8,950 | |||||||
| NAN281 | 213/16 | 2.813 | 71.45 | 2.985 | 0.187 | 0.093 | 2.945 | +0.005 | 0.066 | 9,100 | ||||
| NAN283 | – | 2.834 | 72.00 | 3.006 | 2.966 | -0.000 | 9,250 | |||||||
| NAN287 | 27/8 | 2.875 | 73.00 | 3.056 | 3.011 | 0.068 | 9,400 | |||||||
| NAN300 | 3 | 3.000 | 76.20 | 3.181 | +0.062 | 3.136 | 0.625 | 0.875 | 9,550 | |||||
| NAN306 | 33/16 | 3.062 | 77.78 | 3.247 | -0.000 | 3.202 | 10,470 | |||||||
| NAN312 | 31/8 | 3.125 | 79.38 | 3.311 | 3.265 | 0.070 | 10,690 | |||||||
| NAN315 | 35/32 | 3.156 | 80.16 | 3.342 | 0.218 | 3.296 | 10,800 | |||||||
| NAN325 | 31/4 | 3.250 | 82.55 | 3.442 | 3.394 | 11,120 | ||||||||
| NAN334 | – | 3.346 | 85.00 | 3.539 | 3.490 | 0.072 | 11,450 | |||||||
| NAN346 | 315/32 | 3.469 | 88.00 | 3.663 | 3.613 | 11,870 | ||||||||
| NAN350 | 31/2 | 3.500 | 88.90 | 3.700 | 3.648 | 11,970 | ||||||||
| NAN354 | – | 3.543 | 90.00 | 3.745 | 3.691 | ±.006 | 0.074 | 0.718 | 1.062 | 12,120 | ||||
| NAN356 | 39/16 | 3.562 | 90.47 | 3.766 | +0.078 | 3.710 | 12,190 | |||||||
| NAN362 | 35/8 | 3.625 | 92.08 | 3.831 | -0.000 | 3.773 | 0.120 | 12,380 | ||||||
| NAN375 | 33/4 | 3.750 | 95.25 | 3.962 | 0.109 | 3.902 | +0.005 | 0.076 | 12,600 | |||||
| NAN387 | 37/8 | 3.875 | 98.42 | 4.089 | 4.027 | -0.000 | 12,820 | |||||||
| NAN393 | 315/16 | 3.938 | 100.00 | 4.156 | 0.250 | 4.094 | 0.078 | 13,230 | ||||||
| NAN400 | 4 | 4.000 | 101.60 | 4.221 | 4.156 | 13,690 | ||||||||
| NAN412 | 41/8 | 4.125 | 104.77 | 4.355 | 4.285 | 14,110 | ||||||||
| NAN425 | 41/4 | 4.250 | 107.95 | 4.485 | 4.410 | 0.080 | 14,540 | |||||||
| NAN433 | – | 4.330 | 110.00 | 4.565 | +0.093 | 4.490 | 14,960 | |||||||
| NAN443 | 47/16 | 4.436 | 112.69 | 4.670 | -0.000 | 4.596 | 0.875 | 1.312 | 15,170 | |||||
| NAN450 | 41/2 | 4.500 | 114.30 | 4.744 | 4.664 | 0.082 | 15,390 | |||||||
| NAN462 | 45/8 | 4.625 | 117.48 | 4.875 | 4.795 | 0.085 | 15,830 | |||||||
| NAN475 | 43/4 | 4.750 | 120.65 | 5.011 | 0.281 | 4.926 | 0.088 | 16,250 | ||||||
| NAN500 | 5 | 5.000 | 127.00 | 5.265 | 5.180 | 0.090 | 17,110 | |||||||
| NAN525 | 51/4 | 5.250 | 133.35 | 5.530 | 5.435 | 0.092 | 20,590 | |||||||
| NAN537 | 53/8 | 5.375 | 136.53 | 5.660 | 5.565 | 0.139 | 0.095 | 21,110 | ||||||
| NAN550 | 51/2 | 5.500 | 140.00 | 5.796 | +0.125 | 0.312 | 0.125 | 5.696 | ±.007 | +0.006 | 0.098 | 1.000 | 1.500 | 21,790 |
| NAN575 | 53/4 | 5.750 | 146.05 | 6.050 | -0.000 | 5.950 | -0.000 | 0.100 | 22,570 | |||||
| NAN600 | 6 | 6.000 | 152.40 | 6.309 | 6.204 | 0.102 | 23,550 | |||||||
| NAN625 | 61/4 | 6.250 | 158.75 | 6.568 | 6.458 | 0.104 | 29,420 | |||||||
| NAN650 | 61/2 | 6.500 | 165.00 | 6.832 | 6.712 | 0.174 | 0.106 | 30,610 | ||||||
| NAN662 | 65/8 | 6.625 | 168.27 | 6.975 | +0.156 | 0.343 | 0.156 | 6.845 | +0.006 | 1.125 | 1.812 | 31,400 | ||
| NAN675 | 63/4 | 6.750 | 171.45 | 7.100 | -0.000 | 6.970 | -0.000 | 0.110 | 32,640 | |||||
| NAN700 | 7 | 7.000 | 177.80 | 7.350 | 7.220 | 34,850 | ||||||||
| NAN725 | 71/4 | 7.250 | 184.15 | 7.630 | 7.500 | 38,060 | ||||||||
| NAN750 | 71/2 | 7.500 | 190.50 | 7.890 | 0.375 | 7.750 | 0.125 | 1.375 | 2.250 | 39,450 | ||||
| NAN800 | 8 | 8.000 | 203.20 | 8.400 | 8.250 | ±.008 | 41,960 | |||||||
| NAN825 | 81/4 | 8.250 | 209.55 | 8.665 | 0.437 | 8.540 | 0.145 | 43,320 | ||||||
| NAN850 | 81/2 | 8.500 | 215.90 | 8.915 | +0.187 | 8.790 | 0.209 | 1.625 | 2.500 | 44,710 | ||||
| NAN875 | 83/4 | 8.750 | 222.25 | 9.205 | -0.000 | 0.187 | 9.080 | +0.006 | 48,900 | |||||
| NAN900 | 9 | 9.000 | 228.60 | 9.455 | 9.330 | -0.000 | 49,740 | |||||||
| NAN905 | – | 9.055 | 230.00 | 9.509 | 0.500 | 9.384 | 0.165 | 50,050 | ||||||
| NAN950 | 91/2 | 9.500 | 241.30 | 9.955 | 9.830 | 1.750 | 2.625 | 52,520 | ||||||
| NAN984 | 927/32 | 9.840 | 250.00 | 10.295 | 10.170 | 53,780 | ||||||||
| NAN1000 | 10 | 10.000 | 254.00 | 10.455 | 10.330 | 55,400 | ||||||||
