Eaton Snap Rings > Internal Eaton Style Rings
Metric Retaining Ring (METRIC)
Internal Eaton Style Rings: Metric Retaining Ring (METRIC)
See our Metric Retaining Ring Chart below, which includes technical specifications such as:
- Metric Retaining Ring Dimensions
- Metric Retaining Ring Groove Dimensions
- Metric Retaining Ring Thrust Load
- Plus More
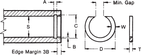
You’ll also notice CAD drawings below to further assist you.
For more information, view all Eaton Rings, or feel free to download our metric retaining ring PDF or view our complete retaining ring catalog. If you do not see your desired specifications in our size chart below, you can custom-design your own bearing snap ring right on our website!

Request Your Custom Quote Today
Connect with a Retaining Ring Expert
Specifications
Catalog Stock Sizes Available: 1.1811″ to 7.8740″
Custom Sizes Obtainable: 0.050″ to 60″
Standard Material: Carbon Spring Steel

| Part Number | Basic Bearing No. | Housing | Ring | Groove | Gap at Min. Free O.D. |
|||||||||
|---|---|---|---|---|---|---|---|---|---|---|---|---|---|---|
| Lt. | Med. | Hvy. | Diameter S | Free Diameter | Wire Section | Dia. | Width A +.004/-.000 |
Nom. Depth B | ||||||
| Frac. inch | mm | D inches |
Tol. inches | W ±.003 |
T ±.002 |
C | Tol. | |||||||
| 738-1 | 200 | 1.1811 | 29.93 | 1.265 | .100* | 0.031 | 1.243 | 0.035 | 0.031 | |||||
| 721-1 | 1.1811 | 29.93 | 1.265 | 0.125 | 0.042 | 1.253 | 0.046 | 0.036 | ||||||
| 725-1R | 1.1811 | 29.93 | 1.271 | .109* | 0.062 | 1.251 | 0.068 | 0.035 | ||||||
| 775 | 201 | 1.2598 | 31.93 | 1.349 | .100* | 0.031 | 1.321 | 0.035 | 0.031 | |||||
| 744 | 1.2598 | 31.93 | 1.343 | +0.031 | 0.125 | 0.042 | 1.331 | 0.046 | 0.036 | |||||
| 2884-R | 1.2598 | 31.93 | 1.365 | -0.000 | .109* | 0.062 | 1.329 | 0.068 | 0.035 | 0.375 | ||||
| 837 | 202 | 1.3780 | 34.92 | 1.468 | .100* | 0.031 | 1.440 | 0.035 | 0.031 | 0.080 | ||||
| 801 | 300 | 1.3780 | 34.92 | 0.125 | 0.042 | 1.450 | 0.046 | 0.036 | 0.000 | |||||
| 793-R | 1.3780 | 34.92 | 1.486 | 0.140 | 0.062 | 1.458 | 0.068 | 0.040 | ||||||
| 866 | 1.4567 | 36.92 | 1.546 | .100* | 0.031 | 1.518 | 0.035 | 0.031 | ||||||
| 846-1 | 301 | 1.4567 | 36.92 | 0.125 | 0.042 | 1.528 | ±.005 | 0.046 | 0.036 | |||||
| 836-R | 1.4567 | 36.92 | 1.564 | 0.140 | 0.062 | 1.536 | 0.068 | 0.040 | ||||||
| 913-1 | 203 | 1.5748 | 39.91 | 1.687 | 0.125 | 0.042 | 1.654 | 0.046 | ||||||
| 886 | 1.5748 | 39.91 | 1.703 | 0.156 | 1.668 | 0.047 | ||||||||
| 887 | 1.5748 | 39.91 | 0.156 | 0.062 | 0.068 | |||||||||
| 1880-4 | 1.6535 | 41.90 | 1.765 | 0.125 | 0.042 | 1.733 | 0.046 | 0.040 | ||||||
| 932-1 | 302 | 1.6535 | 41.90 | 1.781 | 0.156 | 1.747 | 0.047 | |||||||
| 3068-1 | 1.6535 | 41.90 | 0.156 | 0.062 | 0.062 | |||||||||
| 1026-1 | 204 | 1.8504 | 46.89 | 1.968 | +0.046 | 0.125 | 0.042 | 1.930 | 0.046 | 0.040 | ||||
| 992-1 | 303 | 1.8504 | 46.89 | -0.000 | 0.156 | 1.944 | 0.047 | 0.437 | ||||||
| 981-R | 1.8504 | 46.89 | 1.976 | 0.172 | 0.062 | 1.951 | 0.068 | 0.050 | 0.093 | |||||
| 1080-2 | 205 | 2.0472 | 51.88 | 2.171 | 0.156 | 0.042 | 2.137 | 0.046 | 0.045 | 0.000 | ||||
| 1080-2 | 304 | 2.0472 | 51.88 | 0.156 | 2.141 | 0.047 | ||||||||
| 1069-R | 2.0472 | 51.88 | 2.179 | 0.172 | 2.148 | 0.068 | 0.050 | |||||||
| 1208-1 | 206 | 2.4409 | 61.86 | 2.562 | 0.156 | 0.062 | 2.530 | 0.045 | ||||||
| 1208-1 | 305 | 2.4409 | 61.86 | 2.544 | 0.052 | |||||||||
| 1198 | 403 | 2.4409 | 61.86 | 2.593 | 0.187 | 0.093 | 2.565 | 0.103 | 0.062 | |||||
| 1343-3 | 207 | 2.8346 | 71.83 | 2.968 | 0.156 | 0.062 | 2.934 | 0.068 | 0.050 | |||||
| 1331 | 306 | 2.8346 | 71.83 | 2.984 | 0.187 | 2.959 | 0.062 | |||||||
| 1336 | 404 | 2.8346 | 71.83 | 3.000 | 0.093 | ±.006 | 0.103 | |||||||
| 1433-1 | 208 | 3.1496 | 79.82 | 3.281 | +0.062 | 0.156 | 0.062 | 3.249 | 0.068 | 0.050 | 0.562 | |||
| 1410 | 307 | 3.1496 | 79.82 | 3.296 | -0.000 | 0.187 | 3.274 | 0.062 | 0.093 | |||||
| 1415-R | 405 | 3.1496 | 79.82 | 3.312 | 0.218 | 0.093 | 0.103 | 0.000 | ||||||
| 1483-1 | 209 | 3.3465 | 84.81 | 3.484 | 0.156 | 0.062 | 3.446 | 0.068 | 0.050 | |||||
| 1469-2 | 3.3465 | 84.81 | 3.500 | 0.187 | 3.471 | 0.062 | ||||||||
| 1472-5R | 3.3465 | 84.81 | 3.500 | 0.218 | 3.471 | |||||||||
| 1526-1 | 210 | 3.5433 | 89.79 | 3.687 | +0.093 | 0.156 | 0.093 | 3.643 | 0.103 | 0.050 | 0.687 | |||
| 1521 | 308 | 3.5433 | 89.79 | 3.703 | -0.000 | 0.187 | 3.668 | 0.062 | 0.093 | |||||
| 1504 | 406 | 3.5433 | 89.79 | 3.750 | 0.250 | 0.125 | 3.713 | 0.139 | 0.085 | 0.000 | ||||
| 1581-5 | 211 | 3.9370 | 100.00 | 4.093 | 0.187 | 0.093 | 4.062 | 0.103 | 0.062 | |||||
| 1573-1 | 309 | 3.9370 | 100.00 | 4.140 | 0.250 | 4.107 | 0.085 | |||||||
| 2230 | 407 | 3.9370 | 100.00 | 0.250 | 0.125 | 0.139 | 0.687 | |||||||
| 1634-3 | 212 | 4.3307 | 110.00 | 4.500 | 0.187 | 0.093 | 4.455 | 0.103 | 0.062 | 0.093 | ||||
| 1626-3 | 310 | 4.3307 | 110.00 | 4.531 | 0.250 | 4.500 | 0.085 | 0.000 | ||||||
| 1627-2 | 408 | 4.3307 | 110.00 | +0.093 | 0.125 | ±.006 | 0.139 | |||||||
| 2104 | 213 | 4.7244 | 120.00 | 4.937 | -0.000 | 0.250 | 0.109 | 4.884 | 0.120 | 0.080 | ||||
| 1661 | 311 | 4.7244 | 120.00 | 4.953 | 0.281 | 4.912 | 0.094 | |||||||
| 2103 | 409 | 4.7244 | 120.00 | 4.937 | 0.250 | 0.125 | 4.894 | 0.139 | 0.085 | |||||
| 1924 | 214 | 4.9213 | 125.00 | 5.125 | 0.109 | 5.081 | 0.120 | 0.080 | ||||||
| 1683-2 | 4.9213 | 125.00 | 5.156 | 0.281 | 5.109 | 0.094 | ||||||||
| 1678-1 | 4.9213 | 125.00 | 5.151 | 0.312 | 0.156 | 5.121 | 0.174 | 0.100 | ||||||
| 1701-1 | 215 | 5.1181 | 130.00 | 5.312 | 0.250 | 0.109 | 5.278 | 0.120 | 0.080 | |||||
| 1699-2 | 312 | 5.1181 | 130.00 | 5.343 | 0.281 | 5.306 | 0.094 | |||||||
| 2008 | 410 | 5.1181 | 130.00 | 5.355 | 0.312 | 0.156 | 5.318 | 0.174 | 0.100 | |||||
| 1720 | 216 | 5.5118 | 140.00 | 5.703 | 0.250 | 0.109 | 5.671 | 0.120 | 0.080 | 0.875 | ||||
| 1719 | 313 | 5.5118 | 140.00 | 5.750 | 0.281 | 5.699 | 0.094 | 0.125 | ||||||
| 3033-1 | 411 | 5.5118 | 140.00 | +0.125 | 0.312 | 0.156 | 5.711 | ±.007 | 0.174 | 0.100 | 0.000 | |||
| 2790-1 | 217 | 5.9055 | 150.00 | 6.093 | -0.000 | 0.250 | 0.109 | 6.065 | 0.120 | 0.080 | ||||
| 1739 | 314 | 5.9055 | 150.00 | 6.125 | 0.281 | 6.093 | 0.094 | |||||||
| 2013 | 412 | 5.9055 | 150.00 | 6.156 | 0.312 | 0.156 | 6.105 | 0.174 | 0.100 | |||||
| 1759-1 | 218 | 6.2992 | 160.00 | 6.500 | 0.250 | 0.109 | 6.459 | 0.120 | 0.080 | |||||
| 1754-2 | 315 | 6.2992 | 160.00 | 6.550 | 0.281 | 6.497 | 0.094 | |||||||
| 2117-2 | 413 | 6.2992 | 160.00 | 6.550 | 0.312 | 0.156 | 6.500 | 0.174 | 0.100 | |||||
| 2656-1 | 219 | 6.6929 | 170.00 | 6.937 | 0.125 | 6.892 | 0.139 | |||||||
| 1767-2 | 316 | 6.6929 | 170.00 | 6.982 | 0.375 | 6.942 | 0.125 | |||||||
| 2581 | 6.6929 | 170.00 | 6.937 | 0.312 | 0.156 | 6.892 | 0.174 | 0.100 | ||||||
| 1956 | 220 | 7.0866 | 180.00 | 7.343 | 0.125 | 7.286 | 0.139 | |||||||
| 3222 | 317 | 7.0866 | 180.00 | 7.380 | 0.375 | 7.336 | 0.125 | |||||||
| 4570 | 414 | 7.0866 | 180.00 | 7.380 | +0.187 | 0.187 | 7.336 | ±.008 | 0.209 | |||||
| 2331-1 | 221 | 7.4803 | 190.00 | 7.718 | -0.000 | 0.312 | 0.125 | 7.680 | 0.139 | 0.100 | 1.125 | |||
| 3960-2 | 318 | 7.4803 | 190.00 | 7.781 | 0.375 | 7.730 | 0.125 | 0.187 | ||||||
| 2246-2 | 7.4803 | 190.00 | 7.782 | 0.187 | 7.730 | 0.209 | 0.000 | |||||||
| 2034-6 | 222 | 7.8740 | 200.00 | 8.125 | 0.312 | 0.125 | 8.074 | 0.139 | 0.100 | |||||
| 1801 | 319 | 7.8740 | 200.00 | 8.187 | 0.375 | 8.125 | 0.125 | |||||||
| 2127-1 | 416 | 7.8740 | 200.00 | 0.187 | 0.209 | |||||||||
